2026-03-31
2026-03-31
2026-03-31
了解一下,冷凍雞翅進口報關流程是這樣的;冷凍雞翅進口報關流程|進口冷凍雞翅尖報關代理|雞翅中進口代理報關行|冷凍雞翅根進口清關公司。
臻力供應鏈是一家為企業提供專業的“全球進口一條龍服務”的物流供應鏈服務公司。從2004年公司成立起,經過15年的發展,目前在擁有10家公司,覆蓋沿海國內的主要口岸,從華北的大連港一直延伸到華南的深圳港。
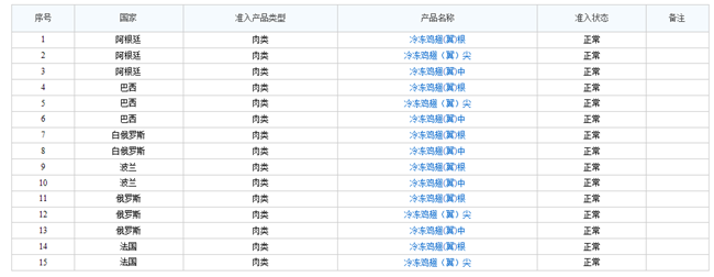
冷凍雞翅允許進口的國家有:阿根廷、巴西、白俄羅斯、波蘭、俄羅斯、法國、泰國、智利,其中最常進口的是“阿根廷、巴西、俄羅斯、智利”。(如需了解冷凍雞肉、雞爪等進口準許國家,您可以提供貨物的海關編碼給我們幫您查詢)。


冷凍雞翅進口報關
作為全球的雞肉消費大國,禽肉類進口逐年上升,那么禽肉類進口商如何從國外進口,需要哪些資質才能進口,進口報關流程是怎樣的?以下是冷凍雞翅進口報關流程,希望能幫到您!

冷凍雞翅進口報關
冷凍禽肉類進口報關,國內進口商的企業資質要求:
(1)進出口經營權;
(2)肉類的經營范圍及肉類資質;
(3)進口食品進出口商備案企業備案(進口辦理);
(4)海關企業年報申報、海關無紙化簽約、電子委托申報簽約(進口辦理)
冷凍雞翅進口報關流程:
簽訂合同--食品中文標簽審核--備貨 --準備冷凍雞翅進口報關單證--發貨到港口--換單--報檢--報關--交稅--貼標簽 -- 申請商檢查驗---貨物放行
關于冷凍雞爪進口報關:
優質凍雞爪主要以巴西、阿根廷、智利、澳大利亞為主,品質好,個頭比較大。隨著中智、中澳自貿協定實 施,進口冷凍肉類關稅逐步下調,進口成本更低。冷凍雞翅進口報關專業代理肉類食品一般貿易進口報關,為企業提供各種冷凍肉類產品進口代理服務,冷凍牛肉、冷凍羊肉冷凍雞腳、冷凍雞爪、冷凍雞翅、冷凍雞腿等,我司在肉類凍柜進口清關方面擁多年進口報關經驗,凍品進口報關流程非常熟悉,歡迎咨詢我們!
冷凍雞翅等凍品進口報關有些單證我司可以代辦,咨詢了解方式:點擊我司網站網頁右下角的咨詢框【在線咨詢】;或者撥打我司全國免費咨詢電話(注:如是下班時間,可給我們留言,我們的客服小姐姐會在看到的第一時間給您致電!上班時間:8:45-18:00)
注明:本文圖片來源于網絡,如有侵權請聯系我們刪除。
客戶在網上找水產品巴沙魚進口報關代理公司,找到我司之后,與我司進口業務專員進行了一番對話之后,了解了客戶的需求就馬上與我司通關操作人員以及海外部同事開展相關的工作,接下來我們一起來看下越南冷凍巴沙魚進
2026-03-31
在講解我司實操的“南非到寧波港葡萄酒進口清關流程代理酒類案例”之前,我們來了解一下葡萄酒的功效,葡萄酒是以葡萄為原料釀造的一種果酒。其酒精密度高于啤酒而低于白酒。營養豐富,保健作用明顯。它能調整提高新
2026-03-31
相對于國內的化妝品,日韓的化妝品做的更好一些,所以很多國內的女性客戶更加熱愛進口的化妝品,日本化妝品成分相對比較天然,氣味淡雅,所以其化妝品更適合中國在內的東方女性使用。日本注重天然養身,強調無添加、
2026-03-31
泰國芒果干以其獨特的口感、香氣和營養價值成為食品愛好者的心頭好。那么進口商們一定很想知道想要進口泰國芒果干的流程是怎么樣的。作為一家專業的進口報關公司,廣州臻力提供高效、可靠的泰國芒果干進口服務。擁
2026-03-31
非洲銅礦石進口報關前,首先要確定非洲銅礦石的信息資料是否能提供,如不能提供可以在產品的海關編碼上面可以知道監管條件以及檢疫類別,是否需要商檢、自動進口許可證等。初次進口非洲銅礦石的進口商,建議找專業的
2026-03-31
設備進口清關代理:集體奮斗的價值不能忘!這個臺灣設備進口清關代理到東莞案例是在2018年的,但是我想用書面的形式來描述一下整個過程,因為集體奮斗的價值不能忘!客戶情況:東莞xxx電子科技有限公司,是一
2026-03-31
液氮罐一般可分為液氮貯存罐、液氮運輸罐兩種。貯存罐主要用于室內液氮的靜置貯存,不宜在工作狀態下作遠距離運輸使用;液氮運輸罐為了滿足運輸的條件,作了專門的防震設計。其除可靜置貯存外,還可在充裝液氮狀態下
2026-03-31
今天給大家分享一則“泰國食品原料進口報關流程到廣東廣州植脂末案例“,想了解的朋友可以看看哦!臻力供應鏈在全國有10家公司,分布在全國各大主要港口城市,擁有16年的報關經驗,熟悉海關法規、政策、業務流程
2026-03-31

注明:本網站圖片來源于網絡,如有侵權請聯系我們刪除。